电容式物位计

undefined
一、UMD磁致伸缩液位计概述UMD磁致伸缩液位计主要用于测量液体。该产品是利用韦德曼效应原理—指一些金属(如镍铁合金)在相交磁场的作用下,其体积和长度将发生变化的现象,因此也称为磁致伸缩效应。UMD磁
产品描述:

一、UMD磁致伸缩液位计概述

UMD磁致伸缩液位计主要用于测量液体。该产品是利用韦德曼效应原理—指一些金属(如镍铁合金)在相交磁场的作用下,其体积和长度将发生变化的现象,因此也称为磁致伸缩效应。UMD磁 致伸缩液位计用现代XJ的电子技术手段,准确的计算和测量脉冲波间的时间值,达到准确测量物体的长度。这一方式原理生产的液位计是目前液位L域为准确、 简单、性能稳定可靠成熟的产品。尤其是在小量程、常温常压这普通环境下更具优势,是其他测量方法不可比的。该产品使用磁致伸缩效应的测量技术是广泛应用在 机床准确测距等行业中的,在工业过程物位参数的测量上应用是近年来兴起的一项新技术。

因其材料特性和结构特点,使其具备比其他原理的液位计更出色的优势。该产品没有强制运动部件、结构简单、敏感材料温度稳定性好、产品可靠。连续实时测量、测量速度较快,有利于工业现场的实时监控。

UMD磁致伸缩液位计可用于石油、化工原料储存、工业流程、生化、医药、食品饮料、罐区管理和加油站地下库存等各种液罐的液位工业计量和控制,特别在油料的储料等高精度测量场合有明显的优势。

二、UMD磁致伸缩液位计技术参数

UMD磁致伸缩液位计技术指标如下:

表1:UMD磁致伸缩液位计技术参数

技术参数测量范围300-4000mm输出信号4~20mA(带HART通信协议)或PROFIBUS PA和FF HI等现场总线协议电压范围12~36Vdc额定电压24Vdc准确度±0.05%FS分辨率≤0.02%FS非线性≤0.02%FS温度影响≤±0.01%/℃J缘电阻>20MΩ显示LCD显示工作压力浮球耐压常规1.6MPA,大可耐3.2mpa环境温度-25~70℃环境湿度5%~95%介质温度-40-300℃防护等JIP66防爆等JExiaIICT3~T4  ,  ExdIICT4~T6产品功耗≤30mA相应时间<1秒导向杆材料304、316或用户定制浮球材料304、316或丁晴橡胶外壳材料不锈钢、铝合金或用户定制电缆参数1个M20*1.5电缆入口,一个盲堵M20*1.5连接方式2芯屏蔽线接线端子连接

三、UMD磁致伸缩液位计产品特点

1)  可靠性强:UMD磁致伸缩液位计采用磁致伸缩原理,无机械可动部分,故无摩擦、磨损。整个电力转换部分封闭在不锈钢钢管内,和测量介质不接触,传感器工作可靠,寿命长。

2)  反应灵敏精度高:UMD磁致伸缩液位计靠波导脉冲工作,将液位量转化为发射脉冲和返回脉冲的时间间隔进行测量,由于时间量的测量可以达到很高精度,测量精度高,可达0.01%FS。

3)  放心型号:UMD磁致伸缩液位计的防爆性能高,有隔爆型和本安型两种,使用放心,特别适合对化工原料和易燃液体的测量适合工作在各种易燃、易爆等危险场所。

4)  安装、维护简单:UMD磁致伸缩液位计可以采用法兰安装方式,安装及其简单,操作简单,而且无需定期维护或重新标定,使用、维护零成本。

5)  便于系统自动化工作:UMD磁致伸缩液位计提供标准输出信号,便于危机对信号进行处理,容易实现联网工作,提高整个测量系统自动化程度。

四、UMD磁致伸缩液位计应用方式

1)  捆绑式应用

UMD磁致伸缩液位计可以与磁翻柱式液位计连用,替代磁性液位变送器选购件,提高精度。

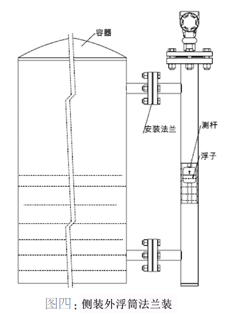
2)  侧装式应用

UMD磁致伸缩液位计侧装采用本公司多种的外浮筒室。

3)  防腐应用

本仪表接液材料均外覆四氟,外浮筒内衬四氟。

4)  高温应用

UMD磁致伸缩液位计采用与高温高压磁翻柱式液位计联用(高温度升至300℃)

5)  界面应用

本仪表界面应建议D装形式,低压状态。0.1比重差需配直径约为150mm的浮球。0.05比重差需配直径约200mm的浮球。界面不清,有浑浊条件下,浮球高度至少是浑浊厚度的一般。用户在选型安装方式时须考虑到浮球进入容器的途径。

6)  可支持HARTPROFIBUS PA和FF H1等******主流现场总线协议。

五、UMD磁致伸缩液位计接线和安装

5.1、产品垂直安装,安装斜度不能大于5度,除去浮球上端锁定卡环,下环不动。

a)       浮球安装方向,参照箭头方向;如果反向,影响测量精度。

b)       导向杆两端有测量盲区,如图二所示



5.2、安装示意图如下:


5.3、接线方式:UMD磁致伸缩液位计的引线采用两线制屏蔽电缆,如下图:

5.4    注意事项:1)用户在接线之前,应检查电源是否满足12~26vdc要求,如果电源不能满足要求,请进行更换。

2)禁止在带电状态下打开视窗盖和连接电源线。须在接好电源线后方可上电。

3)导向杆不能弯曲,液位计的外壳和导向杆不允许受到大的冲击或振动。

4)液位计不可直接用于有化学反应或其他队液位计有损害的易燃、易爆、腐蚀、蒸汽和液体等场合,必要时需有防护措施给与保护。

5)液位计的屏蔽线缆须避开大功率电源,射频信号源和其他有噪声的传输线等。

6)液位计的电子部件防溅但不可浸没,切不可让液体超过安装法兰,安装完毕,应对电子仓进行保护处理。

5.5、液晶显示精度:正负0.2%或1个字显示单位:%或CM,2米以内可选mm。显示方式:LCD数字及小数点显示,字高9mm,有背景光。采样速率:2.5次/秒温度范围-20~60℃。5.6零点、满量程设置   UMD磁致伸缩液位计的零点和满量程位置一般情况下在出厂时已根据用户要求设置好(液位计的零点在测杆的末端一侧,满量程位置的靠近电子舱的一侧,用户不需重新设置,当用户需对零点和满量程位置做出调整时,可根据以下方法设置:

1)  零点位置设置。把浮子放在零位位置,等待三秒后按电路板左上角S1按键一次,此时电流输出变为4mA;

2)  满量程设置。把浮子放在满度位位置,等待三秒后按电路板左上角S2按键一次,此时电流输出变为20mA;5.7产品配件    浮子一个,浮子卡环(包括2个螺钉、2个挡圈)1套,操作手册及合格证各一份。



浏览:
上一篇:
下一篇:
返回顶部

分享到: